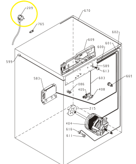
Anschlusskabel

Anschlusskabel
41,02 €
inkl. 19% USt. , zzgl. Versand
  • nicht sofort verfügbar
  • Lieferzeit: ca. 3 Wochen (DE - Ausland abweichend)
Stk